2020年 13卷 第6期
2020, 13(6): 1171-1181.
doi: 10.37188/CO.2020-0033
摘要:
空间金宝搏188软件怎么用 通信凭借其速率高、体积小、质量轻和功耗低的优势,成为卫星间高速通信不可或缺的有效手段,特别在微小卫星应用场合,更能体现金宝搏188软件怎么用 通信的优势。文章详细介绍了微小卫星金宝搏188软件怎么用 通信技术领域最新的研究进展。在此基础上,总结了需要突破的同轨终端轻小型化、异轨终端轻小型化、大气湍流影响抑制等关键技术,归纳了工程化应用、双工通信、单点对多点、国产化和批产能力5个方面的发展趋势。
空间金宝搏188软件怎么用 通信凭借其速率高、体积小、质量轻和功耗低的优势,成为卫星间高速通信不可或缺的有效手段,特别在微小卫星应用场合,更能体现金宝搏188软件怎么用 通信的优势。文章详细介绍了微小卫星金宝搏188软件怎么用 通信技术领域最新的研究进展。在此基础上,总结了需要突破的同轨终端轻小型化、异轨终端轻小型化、大气湍流影响抑制等关键技术,归纳了工程化应用、双工通信、单点对多点、国产化和批产能力5个方面的发展趋势。
2020, 13(6): 1182-1193.
doi: 10.37188/CO.2020-0049
摘要:
基于金宝搏188软件怎么用 散斑的目标探测技术是一种长期以来被人们忽略的金宝搏188软件怎么用 探测技术,该技术将传统金宝搏188软件怎么用 探测技术中视为噪声的金宝搏188软件怎么用 散斑视为新的信息来源,通过分析金宝搏188软件怎么用 散斑形成机理探究散斑统计特性与目标物理特性间的关系,并结合行之有效的分析反演方法来获得包括目标形状、尺寸、表面粗糙度以及动力学参数等信息。与传统金宝搏188软件怎么用 探测技术相比,基于金宝搏188软件怎么用 散斑的目标探测技术具有结构简单,对光学系统要求低,对目标表面物理特性及微动特性敏感等特点,目前已广泛应用于航天、医学、工业、军事等多个领域。本文对近年来各类基于金宝搏188软件怎么用 散斑的目标探测技术进行了分类总结,对各类探测方法的用途和优缺点以及适用环境进行了对比分析,对未来基于金宝搏188软件怎么用 散斑的目标探测方法的发展趋势加以分析。
基于金宝搏188软件怎么用 散斑的目标探测技术是一种长期以来被人们忽略的金宝搏188软件怎么用 探测技术,该技术将传统金宝搏188软件怎么用 探测技术中视为噪声的金宝搏188软件怎么用 散斑视为新的信息来源,通过分析金宝搏188软件怎么用 散斑形成机理探究散斑统计特性与目标物理特性间的关系,并结合行之有效的分析反演方法来获得包括目标形状、尺寸、表面粗糙度以及动力学参数等信息。与传统金宝搏188软件怎么用 探测技术相比,基于金宝搏188软件怎么用 散斑的目标探测技术具有结构简单,对光学系统要求低,对目标表面物理特性及微动特性敏感等特点,目前已广泛应用于航天、医学、工业、军事等多个领域。本文对近年来各类基于金宝搏188软件怎么用 散斑的目标探测技术进行了分类总结,对各类探测方法的用途和优缺点以及适用环境进行了对比分析,对未来基于金宝搏188软件怎么用 散斑的目标探测方法的发展趋势加以分析。
2020, 13(6): 1194-1208.
doi: 10.37188/CO.2020-0032
摘要:
拼接镜面技术是光学合成孔径望远镜的三种实现方式之一,是未来大口径望远镜的重要研究方向。由于拼接镜面主动控制系统直接影响拼接镜面等效大口径镜面的光学性能,本文着眼于地基大口径望远镜的拼接镜面主动控制技术,由地基拼接镜面望远镜的发展过程展开,阐述拼接镜面主动控制系统的主要结构,对国内外拼接镜面主动控制系统发展概况进行分析和总结。归纳了拼接镜面主动控制系统实现主动调整和主动保持的关键技术,明确了深度学习理论在闭环控制,共相检测与校正和系统级仿真建模技术中的逐步应用和未来发展方向,为国内下一代地基大口径望远镜拼接镜面的控制方案设计提供相应的指导。
拼接镜面技术是光学合成孔径望远镜的三种实现方式之一,是未来大口径望远镜的重要研究方向。由于拼接镜面主动控制系统直接影响拼接镜面等效大口径镜面的光学性能,本文着眼于地基大口径望远镜的拼接镜面主动控制技术,由地基拼接镜面望远镜的发展过程展开,阐述拼接镜面主动控制系统的主要结构,对国内外拼接镜面主动控制系统发展概况进行分析和总结。归纳了拼接镜面主动控制系统实现主动调整和主动保持的关键技术,明确了深度学习理论在闭环控制,共相检测与校正和系统级仿真建模技术中的逐步应用和未来发展方向,为国内下一代地基大口径望远镜拼接镜面的控制方案设计提供相应的指导。
2020, 13(6): 1209-1223.
doi: 10.37188/CO.2020-0131
摘要:
超快金宝搏188软件怎么用 技术的发展为基础研究和工业生产不断注入新的动力,促发了很多新学科、新技术的诞生。超快金宝搏188软件怎么用 焊接作为近年来发展起来的一种新型材料连接技术,在航空航天、精密机械、集成光电、生物医疗等领域具有巨大的应用潜力,受到了人们的广泛关注。基于超快金宝搏188软件怎么用 非线性选区能量沉积的基本特点,超快金宝搏188软件怎么用 焊接具有广泛的材料适用性和空间选择性,可以在无嵌入层的前提下实现涉及透明材料的高质量选区焊接。本文从超快金宝搏188软件怎么用 选区焊接的物理机制、主要影响因素、适用领域入手进行了归纳与分析,并对未来该技术发展和将面临的关键挑战进行了论述。
超快金宝搏188软件怎么用 技术的发展为基础研究和工业生产不断注入新的动力,促发了很多新学科、新技术的诞生。超快金宝搏188软件怎么用 焊接作为近年来发展起来的一种新型材料连接技术,在航空航天、精密机械、集成光电、生物医疗等领域具有巨大的应用潜力,受到了人们的广泛关注。基于超快金宝搏188软件怎么用 非线性选区能量沉积的基本特点,超快金宝搏188软件怎么用 焊接具有广泛的材料适用性和空间选择性,可以在无嵌入层的前提下实现涉及透明材料的高质量选区焊接。本文从超快金宝搏188软件怎么用 选区焊接的物理机制、主要影响因素、适用领域入手进行了归纳与分析,并对未来该技术发展和将面临的关键挑战进行了论述。
2020, 13(6): 1224-1238.
doi: 10.37188/CO.2020-0237
摘要:
超精密位移测量技术不仅是精密机械加工的基础,在以摩尔定律飞速发展的芯片制造行业中也起到决定性的作用。以光栅栅距为测量基准的光栅位移测量系统被广泛应用于多维测量系统,光栅位移测量系统与金宝搏188软件怎么用 位移测量系统相比,大大降低了对使用环境的湿度、温度和气压的要求。本文主要介绍了近年来国内外基于二维光栅的位移传感系统光学结构的发展现状,从零差式和外差式光栅干涉测量原理入手,综述了基于单块二维光栅的光学结构到多块二维光栅耦合设计的光学结构发展历程,对比分析了几种二维光栅位移测量系统的优缺点,并展望了二维光栅位移测量系统发展趋势,总结了二维光栅位移测量系统的工程化进程。
超精密位移测量技术不仅是精密机械加工的基础,在以摩尔定律飞速发展的芯片制造行业中也起到决定性的作用。以光栅栅距为测量基准的光栅位移测量系统被广泛应用于多维测量系统,光栅位移测量系统与金宝搏188软件怎么用 位移测量系统相比,大大降低了对使用环境的湿度、温度和气压的要求。本文主要介绍了近年来国内外基于二维光栅的位移传感系统光学结构的发展现状,从零差式和外差式光栅干涉测量原理入手,综述了基于单块二维光栅的光学结构到多块二维光栅耦合设计的光学结构发展历程,对比分析了几种二维光栅位移测量系统的优缺点,并展望了二维光栅位移测量系统发展趋势,总结了二维光栅位移测量系统的工程化进程。
2020, 13(6): 1239-1248.
doi: 10.37188/CO.2020-0112
摘要:
采用金宝搏188软件怎么用 诱导击穿光谱结合金宝搏188软件怎么用 共聚焦显微镜,对河南省上蔡郭庄楚国墓葬群出土的青铜器和故宫博物院灵沼轩的陶瓷砖成分进行表面及深度分布分析。研究表明,青铜器表面的腐蚀层元素分布不均匀,可能源于周围的土壤环境和周围器物,或者从内部到外部的离子外移等,但基体组成相对比较简单。通过分析青铜器腐蚀层成分的深度分布可以了解腐蚀层的腐蚀机理,从而为青铜器的保护提供科学方法;陶瓷的透明釉层和釉彩料层元素分布均匀,釉彩料层存在一定的硼元素,而透明釉中则不含硼元素,原因在于硼元素可有效降低釉的熔融温度范围和表面张力。进一步利用共聚焦显微镜测试剥蚀深度,结合得到的光谱估算出了不同釉层的大概厚度。
采用金宝搏188软件怎么用 诱导击穿光谱结合金宝搏188软件怎么用 共聚焦显微镜,对河南省上蔡郭庄楚国墓葬群出土的青铜器和故宫博物院灵沼轩的陶瓷砖成分进行表面及深度分布分析。研究表明,青铜器表面的腐蚀层元素分布不均匀,可能源于周围的土壤环境和周围器物,或者从内部到外部的离子外移等,但基体组成相对比较简单。通过分析青铜器腐蚀层成分的深度分布可以了解腐蚀层的腐蚀机理,从而为青铜器的保护提供科学方法;陶瓷的透明釉层和釉彩料层元素分布均匀,釉彩料层存在一定的硼元素,而透明釉中则不含硼元素,原因在于硼元素可有效降低釉的熔融温度范围和表面张力。进一步利用共聚焦显微镜测试剥蚀深度,结合得到的光谱估算出了不同釉层的大概厚度。
2020, 13(6): 1249-1256.
doi: 10.37188/CO.2020-0249
摘要:
本文采用反射式全息光栅作为外部反馈元件,设计了638 nm光栅外腔窄线宽金宝搏188软件怎么用 器。使用高分辨率的光谱分析仪检测了Littrow结构的外腔半导体金宝搏188软件怎么用 器的输出光谱,并进一步研究了该金宝搏188软件怎么用 器的阈值和波长调谐特性。实验采用了2400 l/mm和1800 l/mm两种刻线密度的反射式全息光栅进行研究,在120 mA的注入电流下,采用刻线密度为2400 l/mm的光栅外腔金宝搏188软件怎么用 器的输出功率是45.2 mW,将阈值电流由60 mA降至51 mA,下降幅度为11%;采用刻线密度为1800 l/mm的光栅外腔金宝搏188软件怎么用 器的输出功率是38.7 mW,将阈值电流由60 mA降至47 mA,下降幅度为24%,光谱线宽均压窄至3.5 pm,且分别了实现了9.4 nm和10.5 nm宽度的波长调谐。实验结果表明,采用反射式全息光栅的Littrow结构用于半导体金宝搏188软件怎么用 器,极大地改善了半导体金宝搏188软件怎么用 器的性能。
本文采用反射式全息光栅作为外部反馈元件,设计了638 nm光栅外腔窄线宽金宝搏188软件怎么用 器。使用高分辨率的光谱分析仪检测了Littrow结构的外腔半导体金宝搏188软件怎么用 器的输出光谱,并进一步研究了该金宝搏188软件怎么用 器的阈值和波长调谐特性。实验采用了2400 l/mm和1800 l/mm两种刻线密度的反射式全息光栅进行研究,在120 mA的注入电流下,采用刻线密度为2400 l/mm的光栅外腔金宝搏188软件怎么用 器的输出功率是45.2 mW,将阈值电流由60 mA降至51 mA,下降幅度为11%;采用刻线密度为1800 l/mm的光栅外腔金宝搏188软件怎么用 器的输出功率是38.7 mW,将阈值电流由60 mA降至47 mA,下降幅度为24%,光谱线宽均压窄至3.5 pm,且分别了实现了9.4 nm和10.5 nm宽度的波长调谐。实验结果表明,采用反射式全息光栅的Littrow结构用于半导体金宝搏188软件怎么用 器,极大地改善了半导体金宝搏188软件怎么用 器的性能。
2020, 13(6): 1257-1266.
doi: 10.37188/CO.2020-0075
摘要:
为在新型纳米结构太阳能电池中应用ZnO纳米柱阵列材料,则要求能够对纳米柱的几何形貌与光电物理性质进行裁剪与操控。本文使用电沉积方法制备了ZnO纳米柱阵列,通过在电解液中使用Al(NO3)3 和NH4NO3,实现了对纳米柱晶体质量、直径、阵列密度、柱间距、Al掺杂浓度、光学带隙、近带边发射、斯托克斯位移等物理性质的调控。其可在28~102 nm范围内操控ZnO纳米柱的直径。NH4NO3的使用可将纳米柱的阵列密度降低至2.7×109 /cm2及将纳米柱间距增大至164 nm。电解液中NH4NO3的使用可将ZnO纳米柱中的Al/Zn重量比提升至2.92%,结果表明NH4NO3可以有效地促进ZnO纳米柱的Al掺杂。通过Al(NO3)3与NH4NO3可以对ZnO纳米柱的光学带隙在3.36~3.55 eV范围内进行裁剪,并对ZnO纳米柱的近带边发射性质进行操控。Al(NO3)3的引入使ZnO纳米柱的斯托克斯位移增大至200 meV。NH4NO3能够有效地将样品的斯托克斯位移降低至26 meV。通过使用Al(NO3)3 和NH4NO3实现了对ZnO纳米柱阵列几何形貌与光电物理性质的有效裁剪,获得了高质量的纳米柱阵列材料。
为在新型纳米结构太阳能电池中应用ZnO纳米柱阵列材料,则要求能够对纳米柱的几何形貌与光电物理性质进行裁剪与操控。本文使用电沉积方法制备了ZnO纳米柱阵列,通过在电解液中使用Al(NO3)3 和NH4NO3,实现了对纳米柱晶体质量、直径、阵列密度、柱间距、Al掺杂浓度、光学带隙、近带边发射、斯托克斯位移等物理性质的调控。其可在28~102 nm范围内操控ZnO纳米柱的直径。NH4NO3的使用可将纳米柱的阵列密度降低至2.7×109 /cm2及将纳米柱间距增大至164 nm。电解液中NH4NO3的使用可将ZnO纳米柱中的Al/Zn重量比提升至2.92%,结果表明NH4NO3可以有效地促进ZnO纳米柱的Al掺杂。通过Al(NO3)3与NH4NO3可以对ZnO纳米柱的光学带隙在3.36~3.55 eV范围内进行裁剪,并对ZnO纳米柱的近带边发射性质进行操控。Al(NO3)3的引入使ZnO纳米柱的斯托克斯位移增大至200 meV。NH4NO3能够有效地将样品的斯托克斯位移降低至26 meV。通过使用Al(NO3)3 和NH4NO3实现了对ZnO纳米柱阵列几何形貌与光电物理性质的有效裁剪,获得了高质量的纳米柱阵列材料。
2020, 13(6): 1267-1275.
doi: 10.37188/CO.2020-0053
摘要:
为了获取强爆炸光辐射作用下材料的能量耦合特性,发展了强爆炸辐射源参数以及光辐射传输的物理模型和计算方法,计算给出了不同条件下目标位置处的光辐射谱特征。利用材料光谱反射率测量方法,结合光辐射耦合系数计算方法获取了几类材料的能量耦合系数。结果显示:金属、陶瓷材料的光辐射耦合系数相对较小,而碳纤维环氧复合材料的耦合系数可达0.92;采用实际光辐射能谱计算的耦合系数比近似6000 K黑体谱的结果要高,最大约14%。以铝材料为例,光辐射耦合系数随当量及爆心距离增加均表现出逐渐减小的趋势,但总体变化幅度不大。
为了获取强爆炸光辐射作用下材料的能量耦合特性,发展了强爆炸辐射源参数以及光辐射传输的物理模型和计算方法,计算给出了不同条件下目标位置处的光辐射谱特征。利用材料光谱反射率测量方法,结合光辐射耦合系数计算方法获取了几类材料的能量耦合系数。结果显示:金属、陶瓷材料的光辐射耦合系数相对较小,而碳纤维环氧复合材料的耦合系数可达0.92;采用实际光辐射能谱计算的耦合系数比近似6000 K黑体谱的结果要高,最大约14%。以铝材料为例,光辐射耦合系数随当量及爆心距离增加均表现出逐渐减小的趋势,但总体变化幅度不大。
2020, 13(6): 1276-1284.
doi: 10.37188/CO.2020-0089
摘要:
本文研究了卷帘快门式CMOS成像器件在拍摄星图时引入的快门效应。根据卷帘快门CMOS图像传感器的成像原理和特点, 分析了星图中由于快门效应导致的星点变化情况,对该成像方式引入的图像变形,提出了一种像移补偿方法。该方法在已知星图拍摄帧频、CMOS图形传感器相邻行曝光时间间隔的基础上,通过对相邻星图中的星点进行目标提取、质心计算以及星点质心匹配等操作,完成景物在像面上像移速度的计算,最后结合该速度值和CMOS图像传感器的行曝光时间间隔,计算星点质心在单帧星图中的像移,逆向补偿。通过实际拍摄的星图对算法的效果进行测试,实验结果表明,利用补偿后的星图解算姿态数据时,其中非机动模式下与两个星敏的夹角误差可达到0.5″以内,机动模式下与两个星敏的夹角误差也可达到0.6″左右,不仅明显优于补偿前,且精度高于很多目前主流的星敏感器。该实验结果不仅证明了算法的有效性,而且在一定程度上推广了卷帘快门式CMOS 相机在航空航天领域的应用。
本文研究了卷帘快门式CMOS成像器件在拍摄星图时引入的快门效应。根据卷帘快门CMOS图像传感器的成像原理和特点, 分析了星图中由于快门效应导致的星点变化情况,对该成像方式引入的图像变形,提出了一种像移补偿方法。该方法在已知星图拍摄帧频、CMOS图形传感器相邻行曝光时间间隔的基础上,通过对相邻星图中的星点进行目标提取、质心计算以及星点质心匹配等操作,完成景物在像面上像移速度的计算,最后结合该速度值和CMOS图像传感器的行曝光时间间隔,计算星点质心在单帧星图中的像移,逆向补偿。通过实际拍摄的星图对算法的效果进行测试,实验结果表明,利用补偿后的星图解算姿态数据时,其中非机动模式下与两个星敏的夹角误差可达到0.5″以内,机动模式下与两个星敏的夹角误差也可达到0.6″左右,不仅明显优于补偿前,且精度高于很多目前主流的星敏感器。该实验结果不仅证明了算法的有效性,而且在一定程度上推广了卷帘快门式CMOS 相机在航空航天领域的应用。
2020, 13(6): 1285-1292.
doi: 10.37188/CO.2020-0054
摘要:
针对机器视觉检测技术在缸体内表面横孔检测应用中存在的光源设计复杂、照度均匀性差等问题,本文提出一种以LED为直接光源在缸体内部照射横孔,以积分球为背景光源在缸体外部照射横孔的双光源照明方法。本文以缸体内横孔光照均匀性为出发点,建立光源辐射响应数学模型,分析了光源大小、距离、缸体受光点与光照均匀性的关系,并结合成像法介绍了缸体横孔照度均匀性评估方法。最后,通过实验对比分析了光纤光源、LED光源、LED+积分球光源在缸体横孔检测中的光照均匀性。实验数据显示,采用LED光源从外部照射横孔时光照不均匀度达10%,从内部照明时光照不均匀度为5%;采用光纤光源从内部照射横孔时光照不均匀度为4.6%;而采用积分球在缸体外部照射横孔,同时在缸体内部使用LED照明时,光照不均匀度为0.6%。可见采用LED+积分球双光源照明方法可以获得大于99%的光照均匀性,能够较好地满足机器视觉检测照明要求。
针对机器视觉检测技术在缸体内表面横孔检测应用中存在的光源设计复杂、照度均匀性差等问题,本文提出一种以LED为直接光源在缸体内部照射横孔,以积分球为背景光源在缸体外部照射横孔的双光源照明方法。本文以缸体内横孔光照均匀性为出发点,建立光源辐射响应数学模型,分析了光源大小、距离、缸体受光点与光照均匀性的关系,并结合成像法介绍了缸体横孔照度均匀性评估方法。最后,通过实验对比分析了光纤光源、LED光源、LED+积分球光源在缸体横孔检测中的光照均匀性。实验数据显示,采用LED光源从外部照射横孔时光照不均匀度达10%,从内部照明时光照不均匀度为5%;采用光纤光源从内部照射横孔时光照不均匀度为4.6%;而采用积分球在缸体外部照射横孔,同时在缸体内部使用LED照明时,光照不均匀度为0.6%。可见采用LED+积分球双光源照明方法可以获得大于99%的光照均匀性,能够较好地满足机器视觉检测照明要求。
2020, 13(6): 1293-1301.
doi: 10.37188/CO.2020-0041
摘要:
针对神经网络难以从数据量较少、较单一的路面裂缝图像中提取有效特征的局限性,设计了一种融合Gabor滤波器的卷积神经网络模型(Gabor Filter Convolutional Neural Network,GF-CNN)以进行路面裂缝检测。GF-CNN模型首先将路面图像输入小型参数预测网络中,依据输入图像自适应地选取Gabor滤波器组的参数,并根据所预测参数构建滤波器组对初始路面图像进行滤波,得到Gabor纹理特征图。将纹理特征图输入至基于残差网络构建的特征分类网络中提取深层特征,判断其是否包含裂缝。在GAPs路面图像数据集上的测试结果表明,GF-CNN模型的F1分数达到0.7137,优于其他路面图像检测方法。该模型通过融合纹理特征改善CNN特征提取能力,同时降低Gabor滤波器参数敏感性以提高模型泛化能力,对于路面裂缝图像具有良好的适用性。
针对神经网络难以从数据量较少、较单一的路面裂缝图像中提取有效特征的局限性,设计了一种融合Gabor滤波器的卷积神经网络模型(Gabor Filter Convolutional Neural Network,GF-CNN)以进行路面裂缝检测。GF-CNN模型首先将路面图像输入小型参数预测网络中,依据输入图像自适应地选取Gabor滤波器组的参数,并根据所预测参数构建滤波器组对初始路面图像进行滤波,得到Gabor纹理特征图。将纹理特征图输入至基于残差网络构建的特征分类网络中提取深层特征,判断其是否包含裂缝。在GAPs路面图像数据集上的测试结果表明,GF-CNN模型的F1分数达到0.7137,优于其他路面图像检测方法。该模型通过融合纹理特征改善CNN特征提取能力,同时降低Gabor滤波器参数敏感性以提高模型泛化能力,对于路面裂缝图像具有良好的适用性。
2020, 13(6): 1302-1313.
doi: 10.37188/CO.2020-0057
摘要:
在复杂背景下的光学遥感图像目标检测中,为了提高检测精度,同时降低检测网络复杂度,提出了面向光学遥感目标的全局上下文检测模型。首先,采用结构简单的特征编码-特征解码网络进行特征提取。其次,为提高对多尺度目标的定位能力,采取全局上下文特征与目标中心点局部特征相结合的方式生成高分辨率热点图,并利用全局特征实现目标的预分类。最后,提出不同尺度的定位损失函数,用于增强模型的回归能力。实验结果表明: 当使用主干网络Root-ResNet18时,本文模型在公开遥感数据集NWPU VHR-10上的检测精度可达97.6%AP50和83.4%AP75,检测速度达16 PFS,基本满足设计需求,实现了网络速度和精度的有效平衡,便于后续算法在移动设备端的移植和应用。
在复杂背景下的光学遥感图像目标检测中,为了提高检测精度,同时降低检测网络复杂度,提出了面向光学遥感目标的全局上下文检测模型。首先,采用结构简单的特征编码-特征解码网络进行特征提取。其次,为提高对多尺度目标的定位能力,采取全局上下文特征与目标中心点局部特征相结合的方式生成高分辨率热点图,并利用全局特征实现目标的预分类。最后,提出不同尺度的定位损失函数,用于增强模型的回归能力。实验结果表明: 当使用主干网络Root-ResNet18时,本文模型在公开遥感数据集NWPU VHR-10上的检测精度可达97.6%AP50和83.4%AP75,检测速度达16 PFS,基本满足设计需求,实现了网络速度和精度的有效平衡,便于后续算法在移动设备端的移植和应用。
2020, 13(6): 1314-1323.
doi: 10.37188/CO.2020-0021
摘要:
针对金宝搏188软件怎么用 通信精跟踪系统,提出一种基于改进差分进化算法的辨识方法。首先,介绍了标准差分进化算法的基本原理和算法流程,基于此提出一种改进的差分进化算法,并对算法中的参数进行优化;其次,通过扫频信号激励精跟踪系统分析被控对象的动态特性,同时采集CCD相机的位置反馈信息;最后,根据实验数据采用差分进化算法对系统进行辨识,获得精跟踪系统的控制模型。实验结果表明:采用改进差分进化算法后,辨识方法的收敛速度更快,辨识结果准确,该方法在光电跟踪领域有一定工程价值。
针对金宝搏188软件怎么用 通信精跟踪系统,提出一种基于改进差分进化算法的辨识方法。首先,介绍了标准差分进化算法的基本原理和算法流程,基于此提出一种改进的差分进化算法,并对算法中的参数进行优化;其次,通过扫频信号激励精跟踪系统分析被控对象的动态特性,同时采集CCD相机的位置反馈信息;最后,根据实验数据采用差分进化算法对系统进行辨识,获得精跟踪系统的控制模型。实验结果表明:采用改进差分进化算法后,辨识方法的收敛速度更快,辨识结果准确,该方法在光电跟踪领域有一定工程价值。
2020, 13(6): 1324-1331.
doi: 10.37188/CO.2020-0058
摘要:
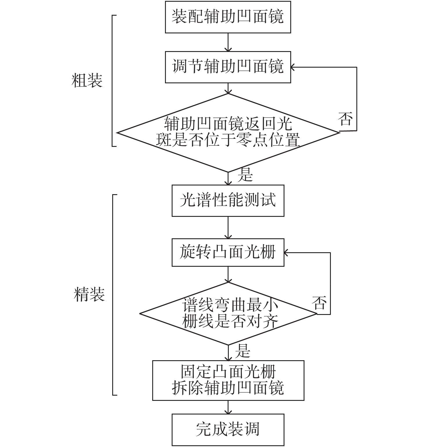
Offner分光成像系统由凸面光栅和两个凹面反射镜组成。光学结构上同心的特点使其具有相对孔径大、畸变小、结构紧凑等优点。为了降低Offner分光成像系统的装调难度,提高装调效率,本文基于同心特点和球面自准直原理,研究了Offner分光成像系统的快速装调方法。首先搭建球面自准直装置,当该装置生成的点光源位于球面反射镜曲率中心处时,其反射像点和点光源重合。通过检测反射像点和点光源之间的位置偏差,可判定球面反射镜曲率中心位置的偏离程度。利用该装置定位主镜、凸面光栅和三镜的曲率中心位置,完成Offner分光成像系统的装调。实验结果表明,两块离轴凹面反射镜的曲率中心间距误差可控制在10 μm以内,装调完成的分光成像系统成像性能较好,满足指标要求。与现有装调方法相比,该方法具有易于对准、装调速度快、所需设备成本低等优点。
Offner分光成像系统由凸面光栅和两个凹面反射镜组成。光学结构上同心的特点使其具有相对孔径大、畸变小、结构紧凑等优点。为了降低Offner分光成像系统的装调难度,提高装调效率,本文基于同心特点和球面自准直原理,研究了Offner分光成像系统的快速装调方法。首先搭建球面自准直装置,当该装置生成的点光源位于球面反射镜曲率中心处时,其反射像点和点光源重合。通过检测反射像点和点光源之间的位置偏差,可判定球面反射镜曲率中心位置的偏离程度。利用该装置定位主镜、凸面光栅和三镜的曲率中心位置,完成Offner分光成像系统的装调。实验结果表明,两块离轴凹面反射镜的曲率中心间距误差可控制在10 μm以内,装调完成的分光成像系统成像性能较好,满足指标要求。与现有装调方法相比,该方法具有易于对准、装调速度快、所需设备成本低等优点。
2020, 13(6): 1332-1342.
doi: 10.37188/CO.2020-0043
摘要:
为了使现代制导律能够在图像制导中得以应用,提高图像制导的性能,针对图像制导难以获取目标距离信息的问题,提出基于光场成像的目标测距算法。该算法首先对光场数据进行解码和整定,从原始图像中提取出子孔径图像;其次,对两张子孔径图像进行双线性插值,以提高图像的空间分辨率;之后,选取两张子孔径图像进行标定以获取对应的内参数和外参数,并利用这些参数校正子孔径图像,使其共面且行对准;最后,采用半全局匹配方法进行图像匹配,获取目标的视差值,将视差进行三维转换即可得到目标距离。实验结果表明,改进前、后算法的平均测量误差分别为28.54 mm和14.96 mm,距离测量精度得到有效提高,能够在较为复杂的场景中有效提取目标距离信息,具有一定的理论和应用价值。
为了使现代制导律能够在图像制导中得以应用,提高图像制导的性能,针对图像制导难以获取目标距离信息的问题,提出基于光场成像的目标测距算法。该算法首先对光场数据进行解码和整定,从原始图像中提取出子孔径图像;其次,对两张子孔径图像进行双线性插值,以提高图像的空间分辨率;之后,选取两张子孔径图像进行标定以获取对应的内参数和外参数,并利用这些参数校正子孔径图像,使其共面且行对准;最后,采用半全局匹配方法进行图像匹配,获取目标的视差值,将视差进行三维转换即可得到目标距离。实验结果表明,改进前、后算法的平均测量误差分别为28.54 mm和14.96 mm,距离测量精度得到有效提高,能够在较为复杂的场景中有效提取目标距离信息,具有一定的理论和应用价值。
2020, 13(6): 1343-1351.
doi: 10.37188/CO.2020-0024
摘要:
在星敏感器高精度的地面精确标定任务中,为满足其对高精度大视场多星模拟器的需求, 研制了可实现20°×40°视场内65颗恒星位置、星等精确模拟的高精度星模拟器。文章从星模拟器原理出发,基于星模拟器空间坐标系转换设计了模拟星支架,通过分析影响模拟星指向的误差,采用 “主次镜一体式安装”、“全铝式模拟星系统”、“星孔位置补偿”等关键技术,设计高精度模拟星系统;建立各模拟星在o-x′y′z′坐标系中的空间位置模型,推导出各模拟星俯仰偏摆角度、单星指向及星间角距数学模型,并计算出单星指向理论误差及星角距理论误差,作为装调及试验的理论基础。试验结果显示,所有模拟星单星指向误差均优于1.914″,任意两模拟星角距误差优于4.3″;设计的高精度大视场多星模拟器精度满足要求,解决了新型星敏感器对高精度大视场多星模拟器的需求,可以作为高精度星敏感器地面性能标定的重要设备。
在星敏感器高精度的地面精确标定任务中,为满足其对高精度大视场多星模拟器的需求, 研制了可实现20°×40°视场内65颗恒星位置、星等精确模拟的高精度星模拟器。文章从星模拟器原理出发,基于星模拟器空间坐标系转换设计了模拟星支架,通过分析影响模拟星指向的误差,采用 “主次镜一体式安装”、“全铝式模拟星系统”、“星孔位置补偿”等关键技术,设计高精度模拟星系统;建立各模拟星在o-x′y′z′坐标系中的空间位置模型,推导出各模拟星俯仰偏摆角度、单星指向及星间角距数学模型,并计算出单星指向理论误差及星角距理论误差,作为装调及试验的理论基础。试验结果显示,所有模拟星单星指向误差均优于1.914″,任意两模拟星角距误差优于4.3″;设计的高精度大视场多星模拟器精度满足要求,解决了新型星敏感器对高精度大视场多星模拟器的需求,可以作为高精度星敏感器地面性能标定的重要设备。
2020, 13(6): 1352-1361.
doi: 10.37188/CO.2019-0201
摘要:
为满足超轻量化光学系统近衍射极限的性能要求,利用先进的CAE仿真与现代高性能SiC制作工艺,研究Φ500 mm SiC反射镜的超轻量化反射镜结构。首先,通过对比现有反射镜常用材料和制作工艺,选取反射镜材料。针对圆形对称反射镜结构特性,采用全等刚度设计,结合集成优化方法,设计反射镜结构形式。同时,采用背部支撑结构,完成反射镜组件结构设计。仿真结果表明:主镜质量小于5 kg,面密度小于20 kg/m2。3个方向自重变形下及4 ℃温升工况下的面形误差(RMS值)均优于λ/50;主镜组件的一阶谐振频率不小于120 Hz,动态响应分析表明最薄弱处应力小于100 MPa。满足反射镜设计要求,轻量化效果显著,结构稳定可靠。
为满足超轻量化光学系统近衍射极限的性能要求,利用先进的CAE仿真与现代高性能SiC制作工艺,研究Φ500 mm SiC反射镜的超轻量化反射镜结构。首先,通过对比现有反射镜常用材料和制作工艺,选取反射镜材料。针对圆形对称反射镜结构特性,采用全等刚度设计,结合集成优化方法,设计反射镜结构形式。同时,采用背部支撑结构,完成反射镜组件结构设计。仿真结果表明:主镜质量小于5 kg,面密度小于20 kg/m2。3个方向自重变形下及4 ℃温升工况下的面形误差(RMS值)均优于λ/50;主镜组件的一阶谐振频率不小于120 Hz,动态响应分析表明最薄弱处应力小于100 MPa。满足反射镜设计要求,轻量化效果显著,结构稳定可靠。
2020, 13(6): 1362-1384.
doi: 10.37188/CO.2020-0056
摘要:
为增强硅的蓝光吸收,在硅表面设计银纳米颗粒阵列,基于局域表面等离激元共振效应对增强的硅蓝光吸收特性进行了分析研究。采用有限时域差分法计算银纳米颗粒阵列/硅复合结构中硅的蓝光吸收特性。结果表明:金属颗粒的消光能力与其几何参数有关,改变银纳米颗粒阵列的半径r、高度H与周期P可调控局域表面等离激元共振强度与共振频率,当银纳米颗粒阵列参数设定为:r = 18.5 nm、H = 45 nm、P = 49 nm时,在共振吸收波长为465 nm的情况下,硅的蓝光吸收率由59%增加至94%,光吸收增益为0.57,光生载流子数目增益为0.53,分析认为是局域表面等离激元共振增强硅在蓝光波段的光吸收导致上述增益现象。本文的研究结果对了解局域表面等离激元效应,改善硅的蓝光吸收特性,设计和制备高蓝光响应度硅基可见光光电探测器具有重要的参考价值。
为增强硅的蓝光吸收,在硅表面设计银纳米颗粒阵列,基于局域表面等离激元共振效应对增强的硅蓝光吸收特性进行了分析研究。采用有限时域差分法计算银纳米颗粒阵列/硅复合结构中硅的蓝光吸收特性。结果表明:金属颗粒的消光能力与其几何参数有关,改变银纳米颗粒阵列的半径r、高度H与周期P可调控局域表面等离激元共振强度与共振频率,当银纳米颗粒阵列参数设定为:r = 18.5 nm、H = 45 nm、P = 49 nm时,在共振吸收波长为465 nm的情况下,硅的蓝光吸收率由59%增加至94%,光吸收增益为0.57,光生载流子数目增益为0.53,分析认为是局域表面等离激元共振增强硅在蓝光波段的光吸收导致上述增益现象。本文的研究结果对了解局域表面等离激元效应,改善硅的蓝光吸收特性,设计和制备高蓝光响应度硅基可见光光电探测器具有重要的参考价值。
2020, 13(6): 1385-1400.
doi: 10.37188/CO.2020-0071
摘要:
为了获得Sm原子的第一电离阈,将Sm原子多步激发产生的光电离、自电离和场电离信号进行了区分,并研究了不同磁量子数Rydberg态Sm原子对第一电离阈的影响。首先,结合多步共振激发和偏振组合技术,将稀土Sm原子激发到第一电离阈附近具有特定磁量子数的自电离或束缚Rydberg态。接着,通过反向静电场将光电离和自电离等过程产生的离子推出作用区。然后,通过施加延时脉冲电场对束缚Rydberg态Sm原子进行探测。最后,通过改变静电场强度获得了Sm原子第一电离阈随着静电场强度的变化情况,拟合确定了零场下不同磁量子数Sm原子的第一电离阈。实验结果表明:Sm原子的第一电离阈为45519.69±0.17 cm−1;该结果与用其它方法获得的结果进行了比较。实验验证了延时场电离探测技术用于测量Sm原子第一电离阈的有效性。
为了获得Sm原子的第一电离阈,将Sm原子多步激发产生的光电离、自电离和场电离信号进行了区分,并研究了不同磁量子数Rydberg态Sm原子对第一电离阈的影响。首先,结合多步共振激发和偏振组合技术,将稀土Sm原子激发到第一电离阈附近具有特定磁量子数的自电离或束缚Rydberg态。接着,通过反向静电场将光电离和自电离等过程产生的离子推出作用区。然后,通过施加延时脉冲电场对束缚Rydberg态Sm原子进行探测。最后,通过改变静电场强度获得了Sm原子第一电离阈随着静电场强度的变化情况,拟合确定了零场下不同磁量子数Sm原子的第一电离阈。实验结果表明:Sm原子的第一电离阈为45519.69±0.17 cm−1;该结果与用其它方法获得的结果进行了比较。实验验证了延时场电离探测技术用于测量Sm原子第一电离阈的有效性。
2020, 13(6): 1401-1410.
doi: 10.37188/CO.2020-0059
摘要:
金宝搏188软件怎么用 诱导荧光技术具有实时、快速的优势,并且无需对样品做预处理,是土壤多环芳烃定量分析检测的一种重要分析手段。然而土壤中多环芳烃种类繁多,金宝搏188软件怎么用 诱导荧光光谱重叠严重,在无法进行化学分离的情况下实现土壤中多环芳烃的精确定量是难点之一。本文采用266 nm可移动金宝搏188软件怎么用 诱导荧光系统获取了农田土壤多环芳烃的荧光光谱,研究了基于单变量线性回归、加权非负最小二乘多元线性回归和支持向量回归的多组分多环芳烃定量分析方法。结果表明:采用单变量线性回归,蒽和菲的相关系数均小于0.90,平均相对误差均大于20%;与单变量线性回归相比,加权非负最小二乘多元线性回归提高了两组分多环芳烃污染土壤中蒽和菲的预测精度,但在多组分多环芳烃污染土壤中的平均相对误差仍在20%以上。最后,采用GWO-DE优化的支持向量机回归模型分析了多组分多环芳烃污染土壤中的蒽和菲,蒽的平均相对误差由多元线性回归的23.1%下降至5.02%,菲的平均相对误差从20.8%下降到4.83%。该研究为提高土壤多组分多环芳烃金宝搏188软件怎么用 诱导荧光定量分析的准确性提供了方法支撑。
金宝搏188软件怎么用 诱导荧光技术具有实时、快速的优势,并且无需对样品做预处理,是土壤多环芳烃定量分析检测的一种重要分析手段。然而土壤中多环芳烃种类繁多,金宝搏188软件怎么用 诱导荧光光谱重叠严重,在无法进行化学分离的情况下实现土壤中多环芳烃的精确定量是难点之一。本文采用266 nm可移动金宝搏188软件怎么用 诱导荧光系统获取了农田土壤多环芳烃的荧光光谱,研究了基于单变量线性回归、加权非负最小二乘多元线性回归和支持向量回归的多组分多环芳烃定量分析方法。结果表明:采用单变量线性回归,蒽和菲的相关系数均小于0.90,平均相对误差均大于20%;与单变量线性回归相比,加权非负最小二乘多元线性回归提高了两组分多环芳烃污染土壤中蒽和菲的预测精度,但在多组分多环芳烃污染土壤中的平均相对误差仍在20%以上。最后,采用GWO-DE优化的支持向量机回归模型分析了多组分多环芳烃污染土壤中的蒽和菲,蒽的平均相对误差由多元线性回归的23.1%下降至5.02%,菲的平均相对误差从20.8%下降到4.83%。该研究为提高土壤多组分多环芳烃金宝搏188软件怎么用 诱导荧光定量分析的准确性提供了方法支撑。
摘要
HTML全文
PDF 7413KB