2015 Vol. 8, No. 4
2015, 8(4): 517-534.
doi: 10.3788/CO.20150804.0517
Abstract:
During the past 30 years of development, diode lasers have gradually become into energy components from the initial information ones. Especially for the high power diode laser source with high beam quality, it has been transformed from the pumping laser to the direct function laser source, and partly applied in the field of materials processing and national defense. The development situation on the laser units is firstly introduced. Then the various methods of laser combining and the corresponding combining sources are analyzed and discussed. The CIOMP's works on the laser combination are presented. Some suggestions for the development of diode laser industry in China are propounded. The new development trends of the diode laser technology are finally prospected. With the increase of the unit brightness and the mature of laser coupling technology, high power diode lasers, either as the direct sources or indirect sources, will have important impacts on the defense and industrial fields.
During the past 30 years of development, diode lasers have gradually become into energy components from the initial information ones. Especially for the high power diode laser source with high beam quality, it has been transformed from the pumping laser to the direct function laser source, and partly applied in the field of materials processing and national defense. The development situation on the laser units is firstly introduced. Then the various methods of laser combining and the corresponding combining sources are analyzed and discussed. The CIOMP's works on the laser combination are presented. Some suggestions for the development of diode laser industry in China are propounded. The new development trends of the diode laser technology are finally prospected. With the increase of the unit brightness and the mature of laser coupling technology, high power diode lasers, either as the direct sources or indirect sources, will have important impacts on the defense and industrial fields.
2015, 8(4): 535-547.
doi: 10.3788/CO.20150804.0535
Abstract:
In this paper, the flexible variable-focus lens(FVFLs) is reviewed from two aspects including mechanical variable-focus lenses and electrostrictive variable-focus lenses. The gravity effect and temperature change exist in most FVFLs. Mechanical variable-focus lenses exhibit very large focal length tunability, but their use is limited by their slow response speed. Electrostrictive variable-focus lenses have simple and compact structure, high response speed. Providing a solution for minimizing optical aberrations and maximizing the tunability of focal length or field of view has drawn much attention in recent years. Exploring new driving technology and developing intelligent focus tunable system with low power comsumption will be the main focus of FVFLs in future.
In this paper, the flexible variable-focus lens(FVFLs) is reviewed from two aspects including mechanical variable-focus lenses and electrostrictive variable-focus lenses. The gravity effect and temperature change exist in most FVFLs. Mechanical variable-focus lenses exhibit very large focal length tunability, but their use is limited by their slow response speed. Electrostrictive variable-focus lenses have simple and compact structure, high response speed. Providing a solution for minimizing optical aberrations and maximizing the tunability of focal length or field of view has drawn much attention in recent years. Exploring new driving technology and developing intelligent focus tunable system with low power comsumption will be the main focus of FVFLs in future.
2015, 8(4): 548-556.
doi: 10.3788/CO.20150804.0548
Abstract:
In this paper, we describe the mechanism of chiral negative refraction phenomenon, and summarize the research progress on simulations and experiments of metamaterial in recent years. Meanwhile, we analysis the optical activity, chiral parameters, losses and so on, and introduce the applications of chiral negative refraction materials in various fields. According to the analysis, we believe that it is one of important development directions for chiral negative refractive index materials to explore new mechanism, new methods and new materials, so as to achieve negative refraction in visible range in the future.
In this paper, we describe the mechanism of chiral negative refraction phenomenon, and summarize the research progress on simulations and experiments of metamaterial in recent years. Meanwhile, we analysis the optical activity, chiral parameters, losses and so on, and introduce the applications of chiral negative refraction materials in various fields. According to the analysis, we believe that it is one of important development directions for chiral negative refractive index materials to explore new mechanism, new methods and new materials, so as to achieve negative refraction in visible range in the future.
2015, 8(4): 557-566.
doi: 10.3788/CO.20150804.0557
Abstract:
Mid-infrared solid lasers, such as new type of Fe2+: ZnSe laser and Optical Parameter Oscillator(OPO) based on MgO: PPLN, ZnGeP2 crystals, are reviewed in this paper. The scientific and technical problems of the mid-infrared solid laser are analyzed. The technical tendencies of mid-infrared solid laser are summarized. Based on the advantages of high efficiency, light weight and small volume, 3-5 μm mid-infrared solid-state laser sources have very important applications in the fields such as industry, medicine and military. The development of mid-infrared laser crystal with large bulk and high quality, and laser pump sources with high power and longer wavelength has become one of the developing trends for mid-infrared solid state laser in the future.
Mid-infrared solid lasers, such as new type of Fe2+: ZnSe laser and Optical Parameter Oscillator(OPO) based on MgO: PPLN, ZnGeP2 crystals, are reviewed in this paper. The scientific and technical problems of the mid-infrared solid laser are analyzed. The technical tendencies of mid-infrared solid laser are summarized. Based on the advantages of high efficiency, light weight and small volume, 3-5 μm mid-infrared solid-state laser sources have very important applications in the fields such as industry, medicine and military. The development of mid-infrared laser crystal with large bulk and high quality, and laser pump sources with high power and longer wavelength has become one of the developing trends for mid-infrared solid state laser in the future.
2015, 8(4): 567-573.
doi: 10.3788/CO.20150804.0567
Abstract:
The transparent electrode thin film of ITO is widely used to implement the touch function of flat panel display(FPD). Its physical thickness has a great impact on touch panel operation, therefore it is very important to measure the thickness of transparent electrode film. The frequency domain analysis algorithm has been used to measure film thickness. However, it is difficult to measure the very thin film. A new algorithm is proposed to measure the film thickness ranged from 20 nm to 150 nm. This algorithm aims to get the precision phase distribution due to multiple reflection of film. The experimental results show that the thickness of the measured transparent electrode film is 90-104 nm, which illustrates that there is no difference from the calibration value. This result proves that the new algorithm can be used to measure the very thin film of ITO within 100 nm.
The transparent electrode thin film of ITO is widely used to implement the touch function of flat panel display(FPD). Its physical thickness has a great impact on touch panel operation, therefore it is very important to measure the thickness of transparent electrode film. The frequency domain analysis algorithm has been used to measure film thickness. However, it is difficult to measure the very thin film. A new algorithm is proposed to measure the film thickness ranged from 20 nm to 150 nm. This algorithm aims to get the precision phase distribution due to multiple reflection of film. The experimental results show that the thickness of the measured transparent electrode film is 90-104 nm, which illustrates that there is no difference from the calibration value. This result proves that the new algorithm can be used to measure the very thin film of ITO within 100 nm.
2015, 8(4): 574-581.
doi: 10.3788/CO.20150804.0574
Abstract:
A new method for fast image registration based on improved Harris-Sift algorithm is proposed. Firstly, classic Harris algorithm is improved by building Gaussian scale space to extract scale invariant Harris corners and they are refined to sub-pixel corners using Forsnter algorithm. Then the SIFT descriptor is utilized to characterize those feature points and the matching procedure is carried out via randomized kd trees. At last, RANSAC is used to remove wrong matches and the optimal transform parameters are estimated using the least square method to accomplish the image registration process. The experimental results demonstrate that compared with the classic SIFT algorithm the proposed method decreases the cost time of the registration procedure mostly by 64% while almost keeping the same performance.
A new method for fast image registration based on improved Harris-Sift algorithm is proposed. Firstly, classic Harris algorithm is improved by building Gaussian scale space to extract scale invariant Harris corners and they are refined to sub-pixel corners using Forsnter algorithm. Then the SIFT descriptor is utilized to characterize those feature points and the matching procedure is carried out via randomized kd trees. At last, RANSAC is used to remove wrong matches and the optimal transform parameters are estimated using the least square method to accomplish the image registration process. The experimental results demonstrate that compared with the classic SIFT algorithm the proposed method decreases the cost time of the registration procedure mostly by 64% while almost keeping the same performance.
2015, 8(4): 582-588.
doi: 10.3788/CO.20150804.0582
Abstract:
In this paper, we present a new virtual eyeglasses try-on system based on face pose estimation, and provides technical support for the realization of the user online optimal commodity purchase. Firstly, we use color model combining shape model for face detection in the scene. Then, we use face geometry relationship to achieve precise positioning of the human eye. We furtherly estimate the face pose information based on a priori knowledge of the symmetrical of eyes in the face region, which is the deviation angle of face with the front side. Finally, we integrate the images of glasses to face and achieve the virtual eyeglasses try-on system according to calculating the angle and location information of eyes. This method provides a reliable technical support and application for the future implementation of virtual visualization between customers and goods in 3D environment.
In this paper, we present a new virtual eyeglasses try-on system based on face pose estimation, and provides technical support for the realization of the user online optimal commodity purchase. Firstly, we use color model combining shape model for face detection in the scene. Then, we use face geometry relationship to achieve precise positioning of the human eye. We furtherly estimate the face pose information based on a priori knowledge of the symmetrical of eyes in the face region, which is the deviation angle of face with the front side. Finally, we integrate the images of glasses to face and achieve the virtual eyeglasses try-on system according to calculating the angle and location information of eyes. This method provides a reliable technical support and application for the future implementation of virtual visualization between customers and goods in 3D environment.
2015, 8(4): 589-595.
doi: 10.3788/CO.20150804.0589
Abstract:
To improve the accuracy of the dynamic gesture detection, Gaussian mixture background modeling based on YCbCr color space is applied to the dynamic gesture recognition, and the effective gesture shadow elimination algorithm is proposed. First of all, the gesture image is cut out from video frame to be detected, and space ellipse fitting is developed in YCb'Cr' color. Oval color model is established statistically, and then dynamic gesture in the YCbCr color space through Gaussian mixture background modeling is detected. Original image is dotted product to get the gesture RGB image containing shadows. The shadows contained in the detected gestures image were eliminated by using ellopse color model, and finally we take gesture images together into a video sequence. Experimental results show that in the algorithm of dynamic gesture detection rate is 91.4% under a complex background, about 10% higher than that by the traditional methods. So it can meet the basic requirements of dynamic gesture detection, and has a high practical value.
To improve the accuracy of the dynamic gesture detection, Gaussian mixture background modeling based on YCbCr color space is applied to the dynamic gesture recognition, and the effective gesture shadow elimination algorithm is proposed. First of all, the gesture image is cut out from video frame to be detected, and space ellipse fitting is developed in YCb'Cr' color. Oval color model is established statistically, and then dynamic gesture in the YCbCr color space through Gaussian mixture background modeling is detected. Original image is dotted product to get the gesture RGB image containing shadows. The shadows contained in the detected gestures image were eliminated by using ellopse color model, and finally we take gesture images together into a video sequence. Experimental results show that in the algorithm of dynamic gesture detection rate is 91.4% under a complex background, about 10% higher than that by the traditional methods. So it can meet the basic requirements of dynamic gesture detection, and has a high practical value.
2015, 8(4): 596-602.
doi: 10.3788/CO.20150804.0596
Abstract:
Laser-induced breakdown spectroscopy(LIBS) is a laser based method for the qualitative and quantitative analysis of chemical elements. It could be used for the analysis of rubber blends in the mixing room. In this paper, zinc dispersion in rubber blends is detected with LIBS by using a Nd: YAG laser with a wavelength of 1 064 nm and a pulse energy of 100 mJ. Experiments show that the quality of rubber products depends on the correct blending of the mixing components. For example short mixing times can lead to an inhomogeneous dispersion of these components. The intensity of the spectral lines is strongly affected by the setup parameters like the focal position. The use of calibration samples allows creating a calibration curve. Based on line scans, the zinc dispersion in these rubber blends can be analyzed. Variations in the homogeneity of the zinc caused by short mixing times or different rotation speed of the mixer can be detected by the evaluation of the intensity profile along these line scans.
Laser-induced breakdown spectroscopy(LIBS) is a laser based method for the qualitative and quantitative analysis of chemical elements. It could be used for the analysis of rubber blends in the mixing room. In this paper, zinc dispersion in rubber blends is detected with LIBS by using a Nd: YAG laser with a wavelength of 1 064 nm and a pulse energy of 100 mJ. Experiments show that the quality of rubber products depends on the correct blending of the mixing components. For example short mixing times can lead to an inhomogeneous dispersion of these components. The intensity of the spectral lines is strongly affected by the setup parameters like the focal position. The use of calibration samples allows creating a calibration curve. Based on line scans, the zinc dispersion in these rubber blends can be analyzed. Variations in the homogeneity of the zinc caused by short mixing times or different rotation speed of the mixer can be detected by the evaluation of the intensity profile along these line scans.
2015, 8(4): 603-607.
doi: 10.3788/CO.20150804.0603
Abstract:
YAG: 0.02Cr3+,yYb3+ powder samples are prepared by high temperature solid-phase reaction method in this paper. Near-infrared emission properties of these powder materials are investigated including emission properties of Cr3+ and Yb3+, luminescence lifetimes of Cr3+: 4T2 and Yb3+: 2F5/2 and comparison of their population time. Optimal doping concentration of Yb3+(10%) is given. Experiments indicate that the broadband spectral conversion makes the Yb3+: 2F5/2→2F7/2 radiation transition obtain a favorable increase around 1 000 nm by the efficient energy transfer from Cr3+ to Yb3+, which laids a solid foundation to enhance solar photovoltaic conversion efficiency.
YAG: 0.02Cr3+,yYb3+ powder samples are prepared by high temperature solid-phase reaction method in this paper. Near-infrared emission properties of these powder materials are investigated including emission properties of Cr3+ and Yb3+, luminescence lifetimes of Cr3+: 4T2 and Yb3+: 2F5/2 and comparison of their population time. Optimal doping concentration of Yb3+(10%) is given. Experiments indicate that the broadband spectral conversion makes the Yb3+: 2F5/2→2F7/2 radiation transition obtain a favorable increase around 1 000 nm by the efficient energy transfer from Cr3+ to Yb3+, which laids a solid foundation to enhance solar photovoltaic conversion efficiency.
2015, 8(4): 608-614.
doi: 10.3788/CO.20150804.0608
Abstract:
With ammonium bicarbonate as the precipitating agent, using Tb4O7, Ga2O3, Ho2O3, Yb2O3 as raw materials(the stoichiometry of Tb4O7 and Ga2O3) is 3: 5 and doping Yb3+(8at.%)/Ho3+(0.5at.%、1at.%、1.5at.%、2.0at.% respectively), Ho,Yb: Tb3Ga5O12(Ho,Yb: TGG) nano-powder was sintered at 1 200 ℃ for 10 h to obtain a pure phase. The samples were characterized by XRD, TG-DTA, Infrared Spectroscopy(IRS), Scanning Electron Microscopy(SEM) and upconversion emission spectroscopy. The experimental results show that the average grain size of the samples is 38.10 nm under the temperature of 1 200 ℃. When the samples with Yb3+(8at.%)/Ho3+(1.5at.%) concentrations were used, there was a clear upconversion luminescence in the wavelength rage of blue, green and red by 980 nm LD. The formation mechanism was discussed at the same time. Analyse indicates that Ho3+ transits from excited states 5S2 and 5F4 to ground state 5I8, achieving the launch of green, and it transits from excited states 5F5 and 5F3 to ground state 5I8, achieving the launch of red and blue respectively.
With ammonium bicarbonate as the precipitating agent, using Tb4O7, Ga2O3, Ho2O3, Yb2O3 as raw materials(the stoichiometry of Tb4O7 and Ga2O3) is 3: 5 and doping Yb3+(8at.%)/Ho3+(0.5at.%、1at.%、1.5at.%、2.0at.% respectively), Ho,Yb: Tb3Ga5O12(Ho,Yb: TGG) nano-powder was sintered at 1 200 ℃ for 10 h to obtain a pure phase. The samples were characterized by XRD, TG-DTA, Infrared Spectroscopy(IRS), Scanning Electron Microscopy(SEM) and upconversion emission spectroscopy. The experimental results show that the average grain size of the samples is 38.10 nm under the temperature of 1 200 ℃. When the samples with Yb3+(8at.%)/Ho3+(1.5at.%) concentrations were used, there was a clear upconversion luminescence in the wavelength rage of blue, green and red by 980 nm LD. The formation mechanism was discussed at the same time. Analyse indicates that Ho3+ transits from excited states 5S2 and 5F4 to ground state 5I8, achieving the launch of green, and it transits from excited states 5F5 and 5F3 to ground state 5I8, achieving the launch of red and blue respectively.
2015, 8(4): 615-620.
doi: 10.3788/CO.20150804.0615
Abstract:
In order to obtain single crystal with brilliant quality and large size to accommodate the requirement of high-power solid state Mid-IR laser, the Cr2+: ZnSe single crystal is grown in the all-graphite cavity with the surrounding of super-high pressure and temperature by the method of Bridgeman. By means of the X-ray Diffraction(XRD), Transmission Electron Microscope(TEM), absorption and fluorescence spectra, the structure, optical properties of the crystal are investigated. Meanwhile, energy level structure and transition mechanism of Cr2+ in the Cr2+: ZnSe crystal are also studied. Experiment results show that the as-grown Cr2+: ZnSe crystal with well-distributed structure and stable physical properties has much wider spectral range of 1.9-3.0 μm range under the pumping source of 1.97 μm laser. It is applicable to obtain a mid-IR laser at the range of 2-3 μm.
In order to obtain single crystal with brilliant quality and large size to accommodate the requirement of high-power solid state Mid-IR laser, the Cr2+: ZnSe single crystal is grown in the all-graphite cavity with the surrounding of super-high pressure and temperature by the method of Bridgeman. By means of the X-ray Diffraction(XRD), Transmission Electron Microscope(TEM), absorption and fluorescence spectra, the structure, optical properties of the crystal are investigated. Meanwhile, energy level structure and transition mechanism of Cr2+ in the Cr2+: ZnSe crystal are also studied. Experiment results show that the as-grown Cr2+: ZnSe crystal with well-distributed structure and stable physical properties has much wider spectral range of 1.9-3.0 μm range under the pumping source of 1.97 μm laser. It is applicable to obtain a mid-IR laser at the range of 2-3 μm.
2015, 8(4): 621-628.
doi: 10.3788/CO.20150804.0621
Abstract:
To improve current equipments in the market, a lens-eccentricity-measuring optical system that combines the focusing method and lens-switching method is designed in this paper. This optical system can be used to measure lens with curvature radius from -∞ to +∞, as well as maintain the test accuracy. Lighttools software is used to trace the light ray and analyze stray light distribution of this optical system. Results show that the intensity of the stray light after multiple reflection inside the collimated lens is low and negligible. The stray light intensity becomes stronger when the image distances of sphere centers are nearby in the testing lens. So in the later image processing, the contrast of target images must be strengthened. Measurement experiments are done by using the equipment with this optical system. All the experimental results further verify the correctness of stray light analyzing.
To improve current equipments in the market, a lens-eccentricity-measuring optical system that combines the focusing method and lens-switching method is designed in this paper. This optical system can be used to measure lens with curvature radius from -∞ to +∞, as well as maintain the test accuracy. Lighttools software is used to trace the light ray and analyze stray light distribution of this optical system. Results show that the intensity of the stray light after multiple reflection inside the collimated lens is low and negligible. The stray light intensity becomes stronger when the image distances of sphere centers are nearby in the testing lens. So in the later image processing, the contrast of target images must be strengthened. Measurement experiments are done by using the equipment with this optical system. All the experimental results further verify the correctness of stray light analyzing.
2015, 8(4): 629-635.
doi: 10.3788/CO.20150804.0629
Abstract:
In order to realize fully distributed measurement for temperature and pressure in an oil well, a measurement method of distributed temperature and pressure based on scattering theory of optical fiber is established. The method makes the common optical fiber into the sensing fiber through package design. Since the scattered light in the sensor fiber is modulated by the temperature and pressure of the fluid surrounding the optical fiber sensor, the real-time on-line measurement of the temperature and pressure is accomplished through the demodulation of the parameters of Raman scattering and Brillouin scattering frequency shift within the optical fiber by the optical fiber demodulator. Experimental results indicate that the distributed optical fiber sensor for temperature and pressure measurement can realize that the temperature resolution is 0.1 ℃ and pressure resolution is 0.07 MPa. It can satisfy the requirements of fully distributed, real-time, on-line, higher reliability, higher precision and strong anti-jamming for the measurement of temperature and pressure in an oil well.
In order to realize fully distributed measurement for temperature and pressure in an oil well, a measurement method of distributed temperature and pressure based on scattering theory of optical fiber is established. The method makes the common optical fiber into the sensing fiber through package design. Since the scattered light in the sensor fiber is modulated by the temperature and pressure of the fluid surrounding the optical fiber sensor, the real-time on-line measurement of the temperature and pressure is accomplished through the demodulation of the parameters of Raman scattering and Brillouin scattering frequency shift within the optical fiber by the optical fiber demodulator. Experimental results indicate that the distributed optical fiber sensor for temperature and pressure measurement can realize that the temperature resolution is 0.1 ℃ and pressure resolution is 0.07 MPa. It can satisfy the requirements of fully distributed, real-time, on-line, higher reliability, higher precision and strong anti-jamming for the measurement of temperature and pressure in an oil well.
2015, 8(4): 636-643.
doi: 10.3788/CO.20150804.0636
Abstract:
On the basis of analysis of the infrared radiation characteristics and the atmospheric absorption and scattering attenuation, bullet's thermal imaging model can be treated as the extended source target and point target in different distance. The minimum detectable temperature difference(MDTD), minimum resolvable temperature difference(MRTD) and noise equivalent power(NEP) models are used for estimating the corresponding bullet radiation detection range. Examples and results of the bullet radiation operating range under three kinds of models are given according to the specific thermal imager's parameters and three kinds of skin temperature. The operating range is the longest when calculated by MDTD model, and 2/3 of the longest operating range can be obtained with MRTD model. The operating range caculated with NEP model is the shortest, just less than 1/2 of the longest operating range. This study shows that the reasonable operating range model should be chosen based on the system performance in actual design.
On the basis of analysis of the infrared radiation characteristics and the atmospheric absorption and scattering attenuation, bullet's thermal imaging model can be treated as the extended source target and point target in different distance. The minimum detectable temperature difference(MDTD), minimum resolvable temperature difference(MRTD) and noise equivalent power(NEP) models are used for estimating the corresponding bullet radiation detection range. Examples and results of the bullet radiation operating range under three kinds of models are given according to the specific thermal imager's parameters and three kinds of skin temperature. The operating range is the longest when calculated by MDTD model, and 2/3 of the longest operating range can be obtained with MRTD model. The operating range caculated with NEP model is the shortest, just less than 1/2 of the longest operating range. This study shows that the reasonable operating range model should be chosen based on the system performance in actual design.
2015, 8(4): 644-650.
doi: 10.3788/CO.20150804.0644
Abstract:
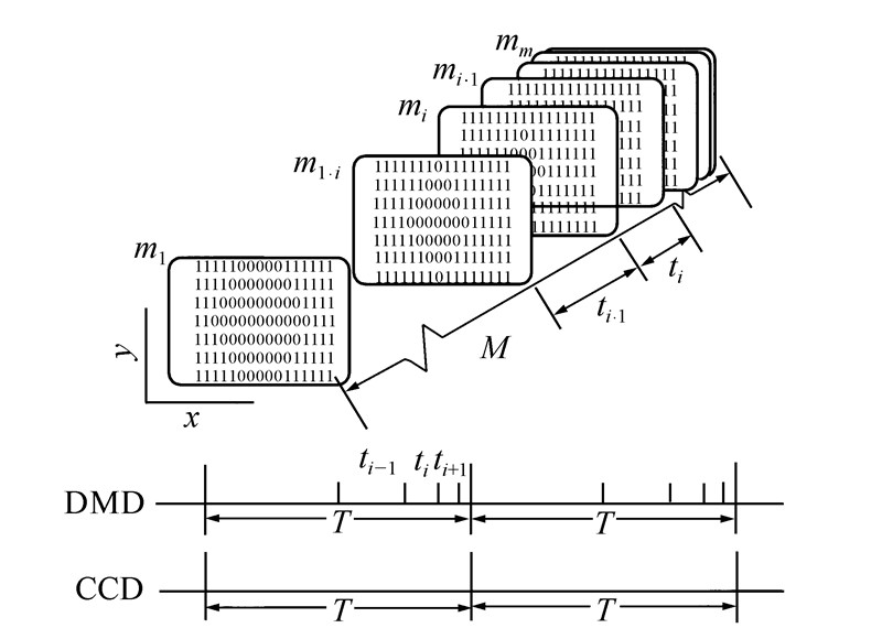
In some scenarios, very bright objectives and very dark objectives exist at the same time. The traditional imaging device can not detect these objectives, and then high dynamic range image acquiring system is needed to detect them. Digital Micro-mirror Devices(DMD) is used to get high dynamic range image, which is the most advanced technology at present. In this paper, a pixel level high dynamic range imaging system is designed based on DMD. The system is composed of optical system, mechanical system, DMD pixel level dimming algorithm and imaging unit. The secondary imaging system is used in the optical system. The first imaging optical structure is image space telecentric system, and the second imaging optical structure is magnification 1:1 quasi-symmetric system. Wrapping technology of optical elements and centering machining process are used in mechanical system, and the optical assembly precision reaches second level. The method searching for single DMD pixel's controlling weight is used in dimming algorithm. The science class 12 bit sCMOS and 8 bit CCD can be used simultaneously in imaging unit. The correctness of the system is proved by the prototype. The image dynamic range can reach 140 dB, much higher than 78 dB dynamic range of traditional cameras.
In some scenarios, very bright objectives and very dark objectives exist at the same time. The traditional imaging device can not detect these objectives, and then high dynamic range image acquiring system is needed to detect them. Digital Micro-mirror Devices(DMD) is used to get high dynamic range image, which is the most advanced technology at present. In this paper, a pixel level high dynamic range imaging system is designed based on DMD. The system is composed of optical system, mechanical system, DMD pixel level dimming algorithm and imaging unit. The secondary imaging system is used in the optical system. The first imaging optical structure is image space telecentric system, and the second imaging optical structure is magnification 1:1 quasi-symmetric system. Wrapping technology of optical elements and centering machining process are used in mechanical system, and the optical assembly precision reaches second level. The method searching for single DMD pixel's controlling weight is used in dimming algorithm. The science class 12 bit sCMOS and 8 bit CCD can be used simultaneously in imaging unit. The correctness of the system is proved by the prototype. The image dynamic range can reach 140 dB, much higher than 78 dB dynamic range of traditional cameras.
2015, 8(4): 651-666.
doi: 10.3788/CO.20150804.0651
Abstract:
As one of research hotspots, organic-inorganic nanocomposite materials combine virtues from both components at microcosmic level, achieving desired function and performance. This paper prepared a series of probe materials for Hg(Ⅱ), Cu(Ⅰ), Fe(Ⅲ) etc. using starting chemicals of rhodamine, triphenylamine and emissive metal complexes. These probes were embedded into proper matrixes to construct composite materials, realizing naked-eye colourimetric sensing towards metal and anion ions. Different ions and their sequence led to spectral variations of absorption and emission spectra. Molecular logic gates were simulated using metal ions or oxygen as input, absorption/emission as output, respectively, widening application of these probes. Hexagonal β-NaYF4 nanocystals were prepared and used as excitation source to eliminate background light interference. Probe molecules were covalently grafted onto these silica coated β-NaYF4 nanocystals, giving core-shell structured up-conversion sensing composites. Upon IR radiation, up-conversion green light was observed, showing good selectivity and sensitivity to metal ions with linear response. Above up-conversion and sensing features made corresponding nanocomposites a promising candidate in analytical chemistry and biochemistry.
As one of research hotspots, organic-inorganic nanocomposite materials combine virtues from both components at microcosmic level, achieving desired function and performance. This paper prepared a series of probe materials for Hg(Ⅱ), Cu(Ⅰ), Fe(Ⅲ) etc. using starting chemicals of rhodamine, triphenylamine and emissive metal complexes. These probes were embedded into proper matrixes to construct composite materials, realizing naked-eye colourimetric sensing towards metal and anion ions. Different ions and their sequence led to spectral variations of absorption and emission spectra. Molecular logic gates were simulated using metal ions or oxygen as input, absorption/emission as output, respectively, widening application of these probes. Hexagonal β-NaYF4 nanocystals were prepared and used as excitation source to eliminate background light interference. Probe molecules were covalently grafted onto these silica coated β-NaYF4 nanocystals, giving core-shell structured up-conversion sensing composites. Upon IR radiation, up-conversion green light was observed, showing good selectivity and sensitivity to metal ions with linear response. Above up-conversion and sensing features made corresponding nanocomposites a promising candidate in analytical chemistry and biochemistry.
Abstract
FullText HTML
PDF 1725KB