2017 Vol. 10, No. 1
2017, 10(1): 1-12.
doi: 10.3788/CO.20171001.0001
Abstract:
In this paper, we review the recent progress on coding metamaterial, digital metamaterial and programmable metamaterial, and discuss their capacities in manipulating the electromagnetic (EM) waves in real time and constructing the multi-functional devices. First, we present 1-bit coding metamaterials that are composed of only two types of unit cells with 0 and π phase responses, named as '0' and '1' elements, respectively. By encoding '0' and '1' elements with controlled sequences, we can manipulate EM waves and realize different functionalities. The concept of coding metamaterials can be extended from 1-bit coding to 2-bit coding or higher. Second, we introduce a unique metamaterial particle that has either 0' or 1' response electrically controlled by a biased diode. Based on this particle, we present digital metamaterials with unit cells that possess either 0' or 1' state. Using a field-programmable gate array (FPGA), we realize the digital controls over the coding metamaterial, thereby realizing a programmable metamaterial. Finally, we study the manipulations to terahertz waves using the coding metamaterial, such as to produce wideband diffusions of terahertz waves, achieving the efficient reductions of radar cross sections (RCSs), as well as to propose anisotropic coding metamaterials, realizing distinct coding behaviors for different polarizations. The measured results are in good agreements with the simulated results, demonstrating the powerful abilities of coding metamaterials to control EM waves. The property of coding metamaterials to manipulate EM waves can be used for designing beam splitter, realizing anomalous reflections and polarization conversions, and reducing RCSs of metallic objects in wide frequency bands.
In this paper, we review the recent progress on coding metamaterial, digital metamaterial and programmable metamaterial, and discuss their capacities in manipulating the electromagnetic (EM) waves in real time and constructing the multi-functional devices. First, we present 1-bit coding metamaterials that are composed of only two types of unit cells with 0 and π phase responses, named as '0' and '1' elements, respectively. By encoding '0' and '1' elements with controlled sequences, we can manipulate EM waves and realize different functionalities. The concept of coding metamaterials can be extended from 1-bit coding to 2-bit coding or higher. Second, we introduce a unique metamaterial particle that has either 0' or 1' response electrically controlled by a biased diode. Based on this particle, we present digital metamaterials with unit cells that possess either 0' or 1' state. Using a field-programmable gate array (FPGA), we realize the digital controls over the coding metamaterial, thereby realizing a programmable metamaterial. Finally, we study the manipulations to terahertz waves using the coding metamaterial, such as to produce wideband diffusions of terahertz waves, achieving the efficient reductions of radar cross sections (RCSs), as well as to propose anisotropic coding metamaterials, realizing distinct coding behaviors for different polarizations. The measured results are in good agreements with the simulated results, demonstrating the powerful abilities of coding metamaterials to control EM waves. The property of coding metamaterials to manipulate EM waves can be used for designing beam splitter, realizing anomalous reflections and polarization conversions, and reducing RCSs of metallic objects in wide frequency bands.
2017, 10(1): 13-24.
doi: 10.3788/CO.20171001.0013
Abstract:
This paper mainly introduces the application of the blue electroluminescent material, the principle and structure of the electroluminescent device. Blue light-emitting inorganic thin film electroluminescent materials are reviewed and their respective problems are pointed out. The practical application of the GaN blue-light-emitting materials are mainly summarized. At present, most blue-chip core technology is occupied by a few foreign companies, there is still a considerable gap on our available technology from the world's advanced level. So there is an urgent need to increase research and development of the blue electroluminescent light emitting material.
This paper mainly introduces the application of the blue electroluminescent material, the principle and structure of the electroluminescent device. Blue light-emitting inorganic thin film electroluminescent materials are reviewed and their respective problems are pointed out. The practical application of the GaN blue-light-emitting materials are mainly summarized. At present, most blue-chip core technology is occupied by a few foreign companies, there is still a considerable gap on our available technology from the world's advanced level. So there is an urgent need to increase research and development of the blue electroluminescent light emitting material.
2017, 10(1): 25-38.
doi: 10.3788/CO.20171001.0025
Abstract:
Two imaging modes and development of optical synthetic aperture are presented briefly in this paper. The current development situation of three kinds of optical synthetic aperture: segmented mirror, sparse aperture and phased array are introduced comprehensively. This paper also summarized the development trend of ground-based and space-based optical synthetic aperture system and the technical problems. Comparing with traditional single aperture optical system, optical synthetic aperture system has higher resolution, low processing difficulty of mirror, easy folding, light weight, and some other characteristics. So it is an important and effective way to realize high resolution optical imaging system.
Two imaging modes and development of optical synthetic aperture are presented briefly in this paper. The current development situation of three kinds of optical synthetic aperture: segmented mirror, sparse aperture and phased array are introduced comprehensively. This paper also summarized the development trend of ground-based and space-based optical synthetic aperture system and the technical problems. Comparing with traditional single aperture optical system, optical synthetic aperture system has higher resolution, low processing difficulty of mirror, easy folding, light weight, and some other characteristics. So it is an important and effective way to realize high resolution optical imaging system.
2017, 10(1): 39-50.
doi: 10.3788/CO.20171001.0039
Abstract:
This paper introduces the principles and the characteristics of the grating displacement measurement system based on geometric moire fringe and the principle of diffraction and interference. It summarizes the research progress of the diffraction grating interferometer displacement measurement system at home and abroad and its key problems and development trend. The advantages of the diffraction grating interferometer displacement measurement system are that low the effect of environment requirement, high resolution and precision, compact structure and low cost. The problems of this system needed to be solved include how to improve the fabrication and installation accuracy of grating and optical components, and seek a higher accuracy of detection means to calibrate the grating displacement measurement system and so on. The development trend of the system is higher resolution and accuracy, larger range, multi-dimensional measurement and more compact structure. The diffraction grating interferometer displacement measurement system will have a wider application prospect in the field of modern industrial processing and manufacturing.
This paper introduces the principles and the characteristics of the grating displacement measurement system based on geometric moire fringe and the principle of diffraction and interference. It summarizes the research progress of the diffraction grating interferometer displacement measurement system at home and abroad and its key problems and development trend. The advantages of the diffraction grating interferometer displacement measurement system are that low the effect of environment requirement, high resolution and precision, compact structure and low cost. The problems of this system needed to be solved include how to improve the fabrication and installation accuracy of grating and optical components, and seek a higher accuracy of detection means to calibrate the grating displacement measurement system and so on. The development trend of the system is higher resolution and accuracy, larger range, multi-dimensional measurement and more compact structure. The diffraction grating interferometer displacement measurement system will have a wider application prospect in the field of modern industrial processing and manufacturing.
2017, 10(1): 51-67.
doi: 10.3788/CO.20171001.0051
Abstract:
Solid-state terahertz plasma devices are becoming one of the important research areas in which both solid-state microwave/millimeter-wave electronics and semiconductor laser technologies are being developed and merged towards the terahertz frequency regime. In this review, we introduce the manipulation, excitation and probing of two-dimensional-electron-gas (2DEG) plasmons in AlGaN/GaN heterostructure, and report the recent progresses in the implementation of plasmon physics in terahertz detectors, modulators and emitters. The coupling between the plasmon modes and the terahertz electromagnetic waves in free space are realized by using grating coupler, antenna and terahertz Fabry-Pérot cavity which further modulates the terahertz electromagnetic modes and enhances the coupling. The dispersion relationship of gate-controlled plasmon modes are verified in grating-coupled 2DEG. Strong coupling between the plasmon modes and the terahertz cavity modes and hence the formation of plasmon-polariton modes are realized in a grouping-coupled 2DEG embedded in a Fabry-Pérot cavity. Based on the same grating-coupled 2DEG, terahertz modulation with high modulation depth and terahertz plasmon emission are observed. In antenna-coupled 2DEG field-effect channel, both resonant and non-resonant excitation of localized plasmon modes are observed by probing the terahertz photocurrent/voltage. A terahertz self-mixing model is developed for antenna-coupled field-effect terahertz detector and provides a guideline for the design and optimization of high-sensitivity terahertz detectors. Our studies indicate that room-temperature, high-speed and high-sensitivity terahertz detectors and the focal-plane arrays can be developed by using the non-resonant plasmon excitation in antenna-coupled field-effect channel. However, the high damping rate of solid-state plasma wave is yet the main hurdle to overcome for plasmon terahertz emitters and modulators both of which rely on the resonant plasmon excitation. The formation of high-quality-factor plasmon cavity including the solid-state plasma physics, manipulation of the boundary conditions of plasmon cavity, utilization of new high-electron-mobility two-dimensional electronic materials and high-quality, small-mode-volume terahertz resonant cavity, etc. would be the focus of future research.
Solid-state terahertz plasma devices are becoming one of the important research areas in which both solid-state microwave/millimeter-wave electronics and semiconductor laser technologies are being developed and merged towards the terahertz frequency regime. In this review, we introduce the manipulation, excitation and probing of two-dimensional-electron-gas (2DEG) plasmons in AlGaN/GaN heterostructure, and report the recent progresses in the implementation of plasmon physics in terahertz detectors, modulators and emitters. The coupling between the plasmon modes and the terahertz electromagnetic waves in free space are realized by using grating coupler, antenna and terahertz Fabry-Pérot cavity which further modulates the terahertz electromagnetic modes and enhances the coupling. The dispersion relationship of gate-controlled plasmon modes are verified in grating-coupled 2DEG. Strong coupling between the plasmon modes and the terahertz cavity modes and hence the formation of plasmon-polariton modes are realized in a grouping-coupled 2DEG embedded in a Fabry-Pérot cavity. Based on the same grating-coupled 2DEG, terahertz modulation with high modulation depth and terahertz plasmon emission are observed. In antenna-coupled 2DEG field-effect channel, both resonant and non-resonant excitation of localized plasmon modes are observed by probing the terahertz photocurrent/voltage. A terahertz self-mixing model is developed for antenna-coupled field-effect terahertz detector and provides a guideline for the design and optimization of high-sensitivity terahertz detectors. Our studies indicate that room-temperature, high-speed and high-sensitivity terahertz detectors and the focal-plane arrays can be developed by using the non-resonant plasmon excitation in antenna-coupled field-effect channel. However, the high damping rate of solid-state plasma wave is yet the main hurdle to overcome for plasmon terahertz emitters and modulators both of which rely on the resonant plasmon excitation. The formation of high-quality-factor plasmon cavity including the solid-state plasma physics, manipulation of the boundary conditions of plasmon cavity, utilization of new high-electron-mobility two-dimensional electronic materials and high-quality, small-mode-volume terahertz resonant cavity, etc. would be the focus of future research.
2017, 10(1): 68-76.
doi: 10.3788/CO.20171001.0068
Abstract:
Terahertz (THz) real-time imaging is a promising field in most of THz technologies. It has lots of features such as fast imaging, high-resolution imaging, etc. The imaging system based on THz quantum-cascade laser (QCL) is one of the most important THz imaging techologies. This type of imaging system has a unique advantage in applications with the features of small size, light weight, and high SNR. In this paper, the research progress of THz QCL and the related real-time imaging system are mainly presented. A hyper-hemispherical high-resistivity silicon lens is used to improve the beam quality of THz QCL. Then a quasi-Gaussian light beam is acquired in imaging system. A THz real-time imaging system is constructed by employing a two dimensional wobbling mirror to eliminate the interference of the THz light. A beam spot size of 45 mm×30 mm for single frame imaging is obtained. The real-time imaging for blade and tablets is demonstrated with a resolution better than 0.5 mm. Finally, the improvements of the source, optics, and detector array of the system and the imaging effect are summarized. The application prospect in material analysis and bio-medical imaging as well as the future trends of the real-time imaging system are discussed.
Terahertz (THz) real-time imaging is a promising field in most of THz technologies. It has lots of features such as fast imaging, high-resolution imaging, etc. The imaging system based on THz quantum-cascade laser (QCL) is one of the most important THz imaging techologies. This type of imaging system has a unique advantage in applications with the features of small size, light weight, and high SNR. In this paper, the research progress of THz QCL and the related real-time imaging system are mainly presented. A hyper-hemispherical high-resistivity silicon lens is used to improve the beam quality of THz QCL. Then a quasi-Gaussian light beam is acquired in imaging system. A THz real-time imaging system is constructed by employing a two dimensional wobbling mirror to eliminate the interference of the THz light. A beam spot size of 45 mm×30 mm for single frame imaging is obtained. The real-time imaging for blade and tablets is demonstrated with a resolution better than 0.5 mm. Finally, the improvements of the source, optics, and detector array of the system and the imaging effect are summarized. The application prospect in material analysis and bio-medical imaging as well as the future trends of the real-time imaging system are discussed.
2017, 10(1): 77-85.
doi: 10.3788/CO.20171001.0077
Abstract:
High performance terahertz devices play an essential role in controlling terahertz waves to realize diverse applications. Here we report our work on the design of THz devices manufactured by a commercially available 3D printer, and the parameters of samples are measured by transmission terahertz time-domain spectroscopy system. Taking terahertz waveguide and terahertz filter as examples, Kagome photonic crystal waveguide and one-dimensional photonic crystal structure filter are chosen respectively, and we experimentally demonstrate that the obtained waveguide features average power propagation loss of 0.02 cm-1(the minimum is about 0.002 cm-1) in the range of 0.2-1.0 THz. More interesting, it could be simply mechanically spliced to obtain longer waveguides without causing serious loss. Besides, Terahertz filter features two apparent high loss bands between 0.1-0.5 THz. The transmission characteristics of both the waveguide and the filter are well predicted by the corresponding numerical simulation. The fabricated approach of THz devices based on the 3D printing technique will be a promising solution to fabricate terahertz device with well controllable characteristics and low cost.
High performance terahertz devices play an essential role in controlling terahertz waves to realize diverse applications. Here we report our work on the design of THz devices manufactured by a commercially available 3D printer, and the parameters of samples are measured by transmission terahertz time-domain spectroscopy system. Taking terahertz waveguide and terahertz filter as examples, Kagome photonic crystal waveguide and one-dimensional photonic crystal structure filter are chosen respectively, and we experimentally demonstrate that the obtained waveguide features average power propagation loss of 0.02 cm-1(the minimum is about 0.002 cm-1) in the range of 0.2-1.0 THz. More interesting, it could be simply mechanically spliced to obtain longer waveguides without causing serious loss. Besides, Terahertz filter features two apparent high loss bands between 0.1-0.5 THz. The transmission characteristics of both the waveguide and the filter are well predicted by the corresponding numerical simulation. The fabricated approach of THz devices based on the 3D printing technique will be a promising solution to fabricate terahertz device with well controllable characteristics and low cost.
2017, 10(1): 86-97.
doi: 10.3788/CO.20171001.0086
Abstract:
Graphene is a two-dimensional material and has unique electrical and optical properties, which has been widely used in the research of terahertz wave dynamic modulation in recent years. In this paper, we reviews the terahertz wave dynamic modulation device based on graphene, analyze the principle and advantages and disadvantages of three kind of modulation methods such as electrical modulation, optical modulation and photoelectric hybrid modulation. We introduce a series of research achievements on the application of graphene in THz wave dynamic modulation in recent years, compare and analyze the advantages and disadvantages of the modulation performance of different devices. Graphene tunable metamaterial provides a new way to achieve more rapid and efficient terahertz modulator.
Graphene is a two-dimensional material and has unique electrical and optical properties, which has been widely used in the research of terahertz wave dynamic modulation in recent years. In this paper, we reviews the terahertz wave dynamic modulation device based on graphene, analyze the principle and advantages and disadvantages of three kind of modulation methods such as electrical modulation, optical modulation and photoelectric hybrid modulation. We introduce a series of research achievements on the application of graphene in THz wave dynamic modulation in recent years, compare and analyze the advantages and disadvantages of the modulation performance of different devices. Graphene tunable metamaterial provides a new way to achieve more rapid and efficient terahertz modulator.
2017, 10(1): 98-113.
doi: 10.3788/CO.20171001.0098
Abstract:
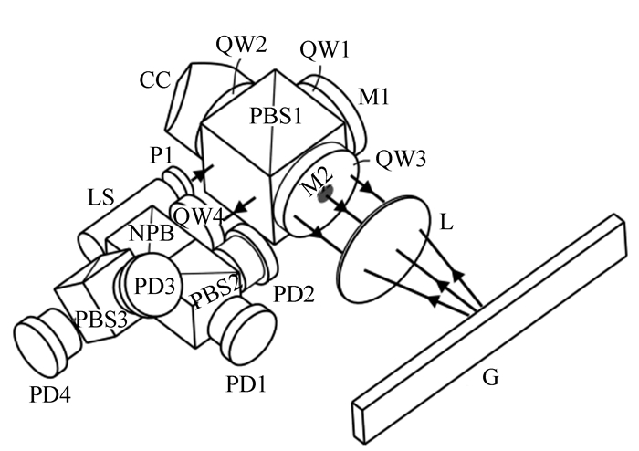
In Maxwell equations, the electromagnetic response of a medium is usually described by permittivity ε(ω) and permeability μ(ω) in constitutive relations. For an electromagnetic field propagating in a medium, there exist two independent eigen modes in general, each of which is a special particular solution of Maxwell equations, satisfies a unique dispersion relation and keeps its own polarization during propagation. If a traveling electromagnetic field is a linear superposition of the two eigen modes, its polarization will constantly change as propagating in medium, such as birefringence in anisotropic crystals, polarization modulation in metamaterials, optical activity in natural chiral materials and external magnetic field induced Faraday effects, etc. In this review, terahertz time-domain polarization measurement system is introduced, including principle, data processing and measurement accuracy. Polarization modulation using wire grid polarizer, metamaterial and other optical methods are discussed in detail. The applications of the polarization measurement system are reviewed in analyzing properties of chiral metamaterials, terahertz circular dichroism spectroscopy and Faraday effects. Finally, we give a brief comment on the future development and prospect of the polarization sensitive terahertz measurement technique.
In Maxwell equations, the electromagnetic response of a medium is usually described by permittivity ε(ω) and permeability μ(ω) in constitutive relations. For an electromagnetic field propagating in a medium, there exist two independent eigen modes in general, each of which is a special particular solution of Maxwell equations, satisfies a unique dispersion relation and keeps its own polarization during propagation. If a traveling electromagnetic field is a linear superposition of the two eigen modes, its polarization will constantly change as propagating in medium, such as birefringence in anisotropic crystals, polarization modulation in metamaterials, optical activity in natural chiral materials and external magnetic field induced Faraday effects, etc. In this review, terahertz time-domain polarization measurement system is introduced, including principle, data processing and measurement accuracy. Polarization modulation using wire grid polarizer, metamaterial and other optical methods are discussed in detail. The applications of the polarization measurement system are reviewed in analyzing properties of chiral metamaterials, terahertz circular dichroism spectroscopy and Faraday effects. Finally, we give a brief comment on the future development and prospect of the polarization sensitive terahertz measurement technique.
2017, 10(1): 114-121.
doi: 10.3788/CO.20171001.0114
Abstract:
Terahertz wave has become a hot research point for body hidden objects detection applications due to its extremely low photon energy and the strong penetration properties to non-polar material. In this paper, taking indoor body concealed detection as the main background, we briefly introduce the atmospheric propagation characteristics of THz waveband. Then we focus on the analysis of the indoor passive terahertz imaging principle and the key technology of imaging system based on radiation detection, including radiometer and scanning array mode, and review the research status of passive terahertz imaging technology in the field of human body security inspection at home and abroad. Considering system cost and imaging time, passive terahertz imaging system consisting of a certain number of high sensitivity radiation meters and scanning imaging mechanism will be the mainstream in the future for a long time.
Terahertz wave has become a hot research point for body hidden objects detection applications due to its extremely low photon energy and the strong penetration properties to non-polar material. In this paper, taking indoor body concealed detection as the main background, we briefly introduce the atmospheric propagation characteristics of THz waveband. Then we focus on the analysis of the indoor passive terahertz imaging principle and the key technology of imaging system based on radiation detection, including radiometer and scanning array mode, and review the research status of passive terahertz imaging technology in the field of human body security inspection at home and abroad. Considering system cost and imaging time, passive terahertz imaging system consisting of a certain number of high sensitivity radiation meters and scanning imaging mechanism will be the mainstream in the future for a long time.
2017, 10(1): 122-130.
doi: 10.3788/CO.20171001.0122
Abstract:
Nearly half of the photon energy is occupied in Terahertz waveband after the cosmic microwave background (CMB) radiation in space, which plays an irreplaceable role in the study of astronomy. So the terahertz astronomy research has extremely important scientific significance. In this paper, we introduce the development of the terahertz coherent detectors bosed on ultra high sensitivity superconducting terahertz detection technology, including superconducting tunnel junction the mixer (SIS) and superconducting hot electron mixer (HEB), and non coherent detectors such as superconducting dynamic inductance detector (MKIDs) and superconducting transition edge detector (TES). The future development trend is also prospected. The review for superconducting THz detectors has the reference significance for the development of astronomical terahertz detection technique in our country.
Nearly half of the photon energy is occupied in Terahertz waveband after the cosmic microwave background (CMB) radiation in space, which plays an irreplaceable role in the study of astronomy. So the terahertz astronomy research has extremely important scientific significance. In this paper, we introduce the development of the terahertz coherent detectors bosed on ultra high sensitivity superconducting terahertz detection technology, including superconducting tunnel junction the mixer (SIS) and superconducting hot electron mixer (HEB), and non coherent detectors such as superconducting dynamic inductance detector (MKIDs) and superconducting transition edge detector (TES). The future development trend is also prospected. The review for superconducting THz detectors has the reference significance for the development of astronomical terahertz detection technique in our country.
2017, 10(1): 131-147.
doi: 10.3788/CO.20171001.0131
Abstract:
With the maturation of terahertz (THz) imaging technology, the spatial resolution, signal-to-noise ratio, imaging speed and ability acquiring information of the imaging system are gradually enhanced. Researchers have paid more attention to THz imaging applications in fundamental researches and industrial exploitation. In this paper, several recent studies of THz digital holography are reviewed, including performance demonstration of THz planar elements, function validation of optical tunable THz elements, observation of the longitudinal component in diffraction THz fields and analysis of THz surface waves on the metallic sub-wavelength devices. These research works are very valuable for the development of THz integration systems and THz imaging technology.
With the maturation of terahertz (THz) imaging technology, the spatial resolution, signal-to-noise ratio, imaging speed and ability acquiring information of the imaging system are gradually enhanced. Researchers have paid more attention to THz imaging applications in fundamental researches and industrial exploitation. In this paper, several recent studies of THz digital holography are reviewed, including performance demonstration of THz planar elements, function validation of optical tunable THz elements, observation of the longitudinal component in diffraction THz fields and analysis of THz surface waves on the metallic sub-wavelength devices. These research works are very valuable for the development of THz integration systems and THz imaging technology.
Abstract
FullText HTML
PDF 3193KB